1. 로그인
  2. 회원가입
충북청주강소특구
사업화유망기술
기술상담신청
기술탐색문의
지원사업안내

사업화유망기술

반려동물용 체중 측정 시스템
분야
보건/의료

반려동물용 체중 측정 시스템

보유기관 및 연구자 : 충북대학교 이아연 교수

개발상태
4/9

기술완성도

TRL09

사업화

  • 본격적인 양산 및 사업화 단계
TRL08

시작품 인증/
표준화

  • 일부 시제품의 인증 및 인허가 취득 단계
    - 조선 기자재의 경우 선급기관 인증, 의약품의 경우 식약청의 품목 허가 등
TRL07

Pilot 단계 시작품
신뢰성 평가

  • 시작품의 신뢰성 평가
  • 실제 환경(수요기업)에서 성능 검증이 이루어지는 단계
TRL06

Pilot 단계 시작품
성능 평가

  • 경제성(생산성)을 고려한, 파일로트 규모의 시작품 제작 및 평가
  • 시작품 성능평가
TRL05

시제품 제작/
성능평가

  • 개발한 부품/시스템의 시작품(Prototype) 제작 및 성능 평가
  • 경제성(생산성)을 고려하지 않고, 우수한 시작품을 1개~수개 미만으로 개발
TRL04

연구실 규모의
부품/시스템 성능평가

  • 연구실 규모의 부품/시스템 성능 평가가 완료된 단계
  • 실용화를 위한 핵심요소기술 확보
TRL03

연구실 규모의
성능 검증

  • 연구실/실험실 규모의 환경에서 기본 성능이 검증될 수 있는 단계
  • 개발하려는 시스템/부품의 기본 설계도면을 확보하는 단계
  • 모델링/설계기술 확보
TRL02

실용 목적의 아이디어/
특허 등 개념 정립

  • 실용 목적의 아이디어, 특허 등 개념 정립
TRL01

기초 이론/
실험

  • 연구과제 탐색 및 기회 발굴 단계
특허정보
  • 반려동물용 체중 측정 시스템 (No : 10-2470278)

거래 조건 :
추후 협의
상담신청 기술문의

기술개요

- 반려동물의 체중을 비롯한 체질량 지수 등을 측정하기 위한 시스템에 관한 것

기존기술 한계

- 반려동물의 보호자가 반려동물의 체중 감량을 위해 노력과 비용을 투자하고 있으나 실질적인 효과를 보지 못함
- 반려동물의 체중을 잴 때 움직이기 때문에 정확한 측정에 어려움 존재
- 종래 기술에는 체질량 지수 같은 건강 관련 정보 산출 기능 미존재

개발기술 특성

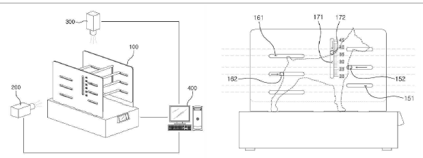
- 반려동물이 서 있는 상태에서 체고 및 체중을 측정하고, 측정한 체고 및 체중을 포함하는 정보를 표출하기 위한 체중계 기술
- 상기 체중계에 반려동물이 서 있는 상태에서 상기 반려동물의 촬영하기 위한 열화상 카메라 및 반려동물의 체고 및 체중 데이터를 이용하여 체질량 지수를 산출
- 산출한 체질량 지수 데이터를 표출하거나 상기 체중계에 전송하는 컴퓨터를 포함
- 허리 둘레 및 엉덩이 둘레를 측정하고, 이를 이용하여 체질량 지수를 산출함으로써 현재 건강 상태 파악 및 건강관리를 용이하게 할 수 있는 효과

시장동향

- 2022년 국내 반려동물 용품 시장 규모(고양이 모래, 영양제 및 미용용품 등 푸드 및 서비스제외)는 8437억 원으로 집계
→ 이 시장은 2023년 8779억 원으로 예상되며 2019년과 비교해 16% 커질 전망

기술동향

- 2020년 국내 반려동물 양육가구 비중은 27.7%에 달하며, 펫케어 시장은 2016~2020년까지 연평균증가율 8.4%를 기록
- 국내 펫케어용품 시장은 스타트업을 포함한 개인 및 중소기업이 산업 생태계의 발전을 주도함.
- 관련 특허 출원인 분석 결과 대기업은 2%에 불과한 반면 개인 및 중소기업의 비중은 88%에 달함
- 특히 사물인터넷(IoT)을 접목시킨 펫테크 분야 반려용품의 특허출원이 확대되는 추세